|
|
ILLUSTRATED
PARTS LIST
|
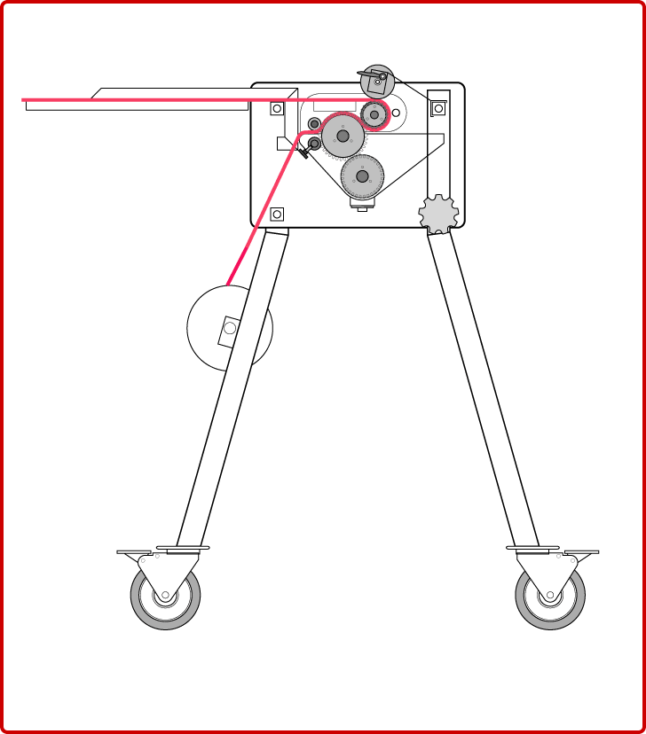
UNDER CARRIAGE
- Casters (4ea)
- Caster Bumpers (4ea)
- Legs (2 front) (2 back)
- Palm grip leg screws (8 ea)
MATERIAL ROLLER ASSEMBLY
- Material roller (1 ea)
- Material roller saddle blocks (2 ea)
- Guide disc clamps (2 ea)
ROLLER ASSEMBLY
- End Plate (2 ea) (L&R)
- Frame Spreader Bars (4 ea) (2 upper & 2 lower)
- Paste Pan
- Paste Roller Saddle Blocks (2 ea) (L&R)
- Paste Roller Saddle Block Adjustment Screw
- Paste Pickup Roller (1 ea)
- Paste Pickup Roller Gear (1 ea)
- Paste Delivery Roller (1 ea)
- Paste Delivery Roller Gear (1 ea)
- Doctor Roller (1 ea)
- Drive Roller (1 ea)
- Drive Roller Gear (1 ea)
- Pinch Roller (1 ea)
- Rocker Arm (2 ea) (L&R)
- Rocker Arm Spreader Bar (1 ea)
- Rocker Arm Pivot (2 ea)
- Detent Pin (2 ea)
- End Fine Adjuster Screws (2 ea)
- Center Fine Adjuster Screw (1ea)
- Center Adjuster Block (1 ea)
- Drain Plug
TABLE ASSEMBLY
- Table
- Table Arms (2 ea)
- Table Arm Bumpers, long (2 ea)
- Table Arm Bumpers, short (2 ea)
COUNTER ASSEMBLY
- Counter
- Counter Wheel
- Counter Bracket
|










|